通知公告
-
推荐湖北省成人高考招生免试及照顾加分录取项目
考生申报优录项目资格,除身份证外,均应按要求提供相应原始证件及复印件或扫描件(照片)。报名结束后,一律不再受理照顾加分政策的资格申请。可以享受照顾加分政策,但未在报名结束前提交相关证明材料的考生,视为放弃申请照顾加分政策资格。一、成人高校招生免试录取项目成人高校招收免试生,须由考...
-
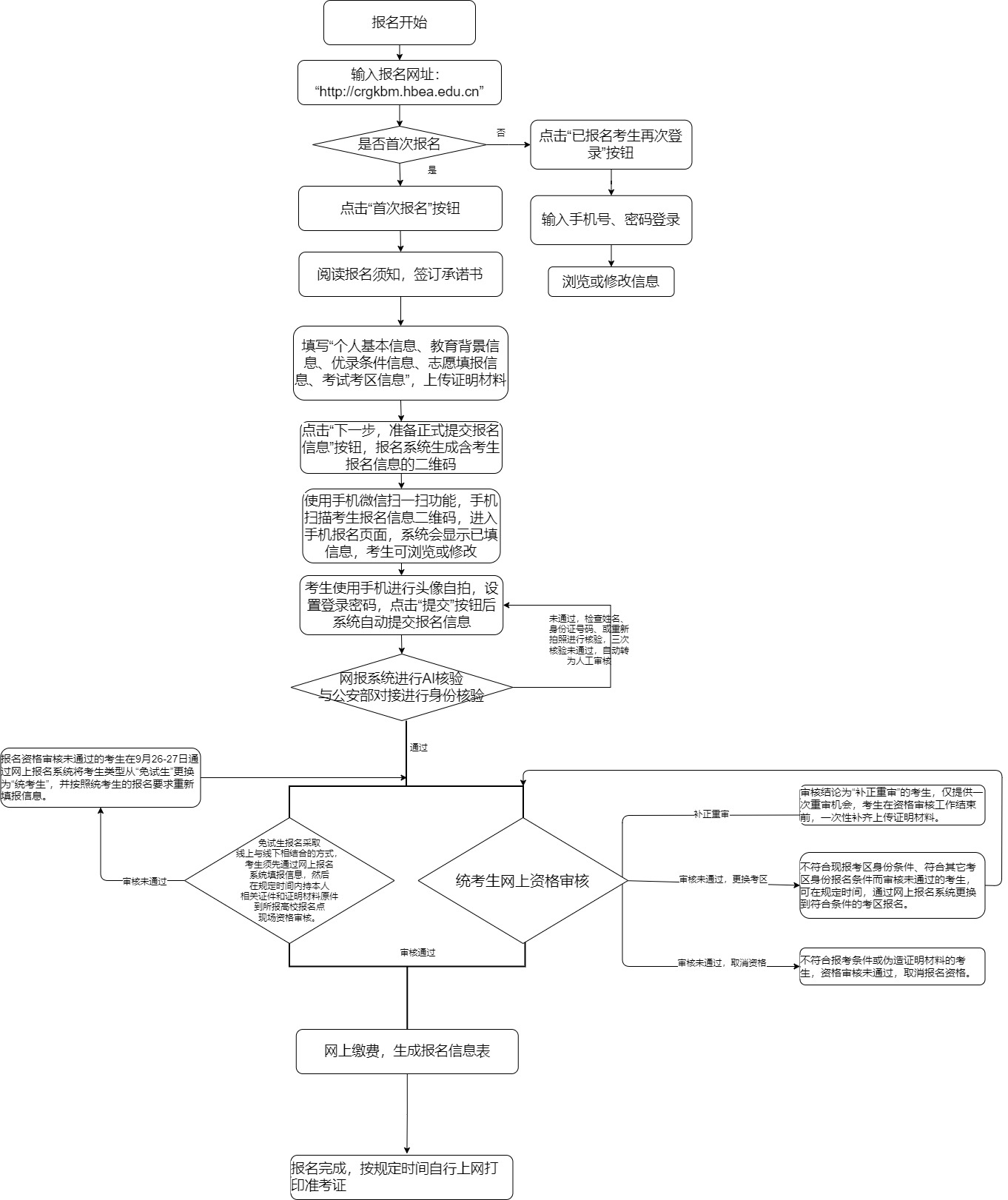
推荐湖北省2023年成人高考考生网上报名流程及填报说明
一、湖北省2023年成人高考考生网上报名流程(PC机版本)二、湖北省2023年成人高考考生网上报名流程(手机版本)考生如有不明确的可以在线咨询湖北继续教育学院网或者添加微信留言!
-
推荐湖北省2023年成人高考考试地点
1.统考生一般应在户籍或身份证所在地报名参加考试,在非户籍和非身份证所在地报名参加考试,应提供拟报地所在公安机关核发的居住证或当地人社部门出具的近3个月社保缴费凭证。2.统考生报名继续实行网上信息填报、网上身份核验和网上资格审核,不采用线下采集头像、身份证信息以及现场人工核验身份...
-
推荐湖北省2023年成人高考报名日程安排
(一)湖北省2023年成人高考统考生报名日程安排1.信息填报和身份核验时间:9月6日8:30--9月10日17:00。2.报名资格审核时间:9月15日8:30--9月20日17:00。因不符合现报名考区身份条件、但符合其他考区身份报名条件而审核未通过的考生,可在此期间,通过网上报...
-
推荐湖北省2023年成人高考报名对象和条件
凡遵守中华人民共和国宪法和法律,在湖北省内居住、工作和生活且符合以下条件的中国公民以及港澳台居民、外国侨民均可报名参加2023年成人高考。具体条件如下:(一)境内公民应具有湖北省各地公安机关核发的居民身份证、户口簿、居住证之一或者湖北省各地人社部门出具的近三个月社保缴费凭证;在湖...
-
推荐湖北省2023年成人高考考生报名须知
湖北省2023年全国成人高校招生统一考试(以下简称成人高考)定于10月21日-22日进行。(一)报考类别和报考科类成人高考设高中起点升本科(以下简称高起本)、高中起点升专科(以下简称高起专)、专科起点升本科(以下简称专升本)三个报考类别。其中,“高起本”“高起专”又分文科、理科,...
-
推荐2023级湖北成人高考录取通知书
前几天成教的录取结果已经出来,大家可以在各学校的官网上面查到自己的录取情况,也可以等函授站的通知,现在各个学校正在陆续下发2023级湖北成人高考的录取通知书,录取通知书的话一般交由函授站负责保管,电子版给学生,因为第二年缴费需要通知书,学校会统一核对。各位同学可慢慢等待,如果有比...
-
湖北成人高考录取后,接下来该做什么?
湖北成人高考录取结果已经出来了,很多同学不清楚被录取后,下一步应该干嘛,比如什么时候可以收到录取通知书?什么时候入学等等,下面由湖北继续教育学院网的教务老师给大家解答一些问题,如果还有其他疑问可以在线咨询招生办老师!01湖北成人高考什么时候可以拿到录取通知书?成人高考一般在12月...
-
2022年湖北省成人高考校线预估来了!快看看你能不能上
2022年湖北成人高考的录取控制线11月底已经出来了,令人感到不可思议的是,三个层次的分数线全部跌到历史新低:高起专114分,专升本102分,高升本137分而且年满25岁还可降20分录取。看到这里,很多同学是不是觉得自己过了省控线就一定可以稳过?其实并不一定,我们知道,省控线出来...
-
通过率97%!湖北省成人高考录取分数线创新低~
近日,湖北省招生信息网公布了《省招委关于印发湖北省2022年成人高等学校招生录取控制分数线的通知》,通知公示了湖北省2022年成人高等学校招生录取控制的分数线。从公布的分数线来看,各层次分数线创历史新低,降幅颇大,这对参加今年成考的考生而言,无疑是一个重大利好消息!湖北省2022...
-
湖北成人高考查分了!成考考不过怎么办?补救的方法来了~
可以查分了!湖北省2022年成考成绩出来了,大家可以在“湖北省教育考试院”官网上查分了,希望大家都能高分通过。湖北继续教育学院老师附上了湖北省2017年-2021年录取分数线,大家可以先参考一下,估一下自己成功上岸的几率。此外,分数出来之后,有机会考上的同学要注意下之后的流程:1...
-
湖北省2022年成人高考成绩查询明日可查
湖北省考试院将于11月22日上午9时发布湖北省2022年成人高考各科目考试成绩,届时考生可通过湖北省教育考试院网站,进入“2022年湖北省成人高考成绩查询”栏目,凭本人身份证号和页面提示的验证码查询自己的考试成绩。
-
湖北省2022 年成人高考疫情防控考生须知
2022年全国成人高考将于11月5日-6日举行。为保障广大考生和考试工作人员的生命安全和身体健康,根据当前疫情形势及我省疫情防控有关政策规定,现将本次考试疫情防控要求告知如下,请广大考生遵照执行。一、遵守防疫规定。鉴于当前新冠肺炎疫情形势严峻复杂及不确定性,考试防疫要求按疫情变化...
-
湖北省2022年成人高考考生报名须知
2022年湖北省成人高考统一考试定于11月5日-6日进行。网上报名时间为9月13日8:30--9月18日17:00;报名资格审核时间:9月24日8:30--9月28日17:00;网上缴费时间:9月24日8:30--9月29日12:00。一、考试设置(一)报考类别和报考科类成人高考...
-
2022湖北成考报名火热进行中......
很多同学疑惑,成考报名时间在8月末9月初,为什么现在就要预报名?以下是原因。1.报考人数剧增网上报名时间有限,考生报考会存在大量问题,错过报名时间将无缘提升学历。2.录取门槛提高根据往年数据情况,大部分高校录取线都所有提高,录取门槛放高,考试难度增加,早点报名复习,争取一次性考过...

您当前所在位置: